RCDE电磁油冷除铁器
时间:2016-09-01 11:07:07

一、概述:
RCDE系列油冷式电磁除铁器,内部采用国际变压器先进技术,变压器油循环冷却,全密封结构,具有磁力大、防尘、防雨、耐腐蚀、连续工作使用寿命长等特点,对辊压机、破碎机等机械设备起着可靠的保护作用.其主要性能指标均达到或高于JB/T7689-2004标准要求,该产品可除去混杂在非磁性物料中0.1~35公斤的铁磁性物质。
二、主要技术参数:
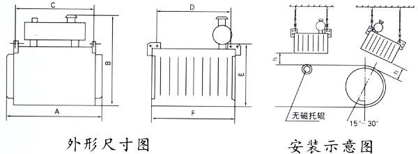
型号 | 适应带宽mm | 额定吊高h mm | 磁场强度≥mT | 物料厚度≤mm | 励磁功率≤kw | 外形尺寸mm | 重量kg | |||||
A | B | C | D | E | F | |||||||
RCDE-4 | 400 | 100 | 70 | 60 | 0.6 | 500 | 620 | 350 | 250 | 400 | 400 | 300 |
RCDE-5 | 500 | 150 | 100 | 1 | 670 | 760 | 480 | 300 | 475 | 500 | 500 | |
RCDE-6 | 600 | 175 | 125 | 1.5 | 775 | 835 | 580 | 450 | 530 | 600 | 650 | |
RCDE-6.5 | 650 | 200 | 150 | 2 | 795 | 855 | 590 | 490 | 550 | 650 | 750 | |
RCDE-8 | 800 | 250 | 200 | 3 | 1050 | 980 | 770 | 620 | 670 | 835 | 1150 | |
RCDE-10 | 1000 | 300 | 250 | 4.5 | 1400 | 1160 | 940 | 800 | 755 | 1000 | 1400 | |
RCDE-12 | 1200 | 350 | 300 | 6 | 1460 | 1190 | 1260 | 1070 | 780 | 1290 | 2780 | |
RCDE-14 | 1400 | 400 | 350 | 8.5 | 1700 | 1280 | 1500 | 1340 | 800 | 1560 | 4200 | |
RCDE-16 | 1600 | 450 | 400 | 12.5 | 1950 | 1370 | 1850 | 1630 | 860 | 1850 | 5700 | |
RCDE-18 | 1800 | 500 | 450 | 18 | 2170 | 1490 | 2050 | 1880 | 950 | 2000 | 7300 |
注:
1.本设备磁场强度均有高于国标的T1,T2,T3磁场,额定吊高出磁场强度分别90mT,120mT,150mT。
2.本设备各型号具体尺寸可根据用户需求制作。
3.倾斜式安装订货时请注明倾斜角度。